知识分享
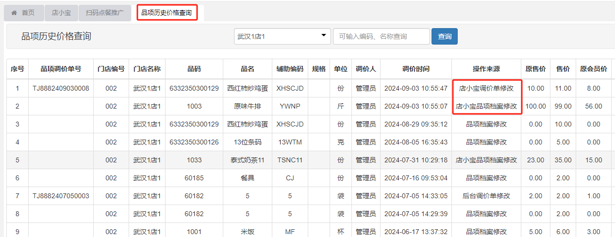
在店小宝上做了调价单,或者在菜单里修改了菜品价格,系统日志中没有记录,在哪里可以查到相关记录?
基础信息
适用版本:
美食家3
知识编号:
41202409040024
点击数:
2
问题描述
在店小宝上做了调价单,或者在菜单里修改了菜品价格,系统日志中没有记录,在哪里可以查到相关记录?
问题答案
在后台运营管理-品项历史价格查询中,可以查看记录。如图: